Full-color and/or full-resolution graphics from the pages of QRP Homebrewer

QHB #2 -- Winter 2000

 

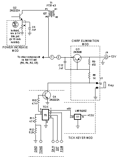
Useful Mods for your Tuna Tin 2 Kit, by Jake Carter, NU4Y

 

Back to QHB Extra home page

 

Last Modified:  August 8, 2001